3. Подготовка логистического сканера к работе
Для проверки работы электроники логистического сканера упаковки и веса не обязательно устанавливать ее компоненты на стенд. Достаточно соединить модули по схеме с помощью входящих в комплект проводов.

Провода датчиков веса имеют цветовую маркировку. Все провода одного цвета соединяются вместе с помощью удлинительного кабеля или раздельно подключаются к четырем разъемам платы, имеющим маркировку Weight Sensors 1, 2, 3, 4. Порядок подключения датчиков значения не имеет. В схеме с одним датчиком веса его можно подключить к любому из 4-х разъемов.
Соответствие проводов тензодатчика и обозначений на плате:
Красный - Е+
Черный - Е-
Белый - А-
Зеленый - А+
Желтый - GND (провод «земля» может отсутствовать)
В набор с 4-мя датчиками входит комплект удлинительных кабелей, который состоит из 4-х плоских шлейфов. При подключении удлинительного кабеля к разъему платы треугольная метка на разъеме должна подключаться к верхнему контакту на разъеме платы. На рисунке он обозначен Е+.
При подключении датчика непосредственно к плате необходимо соблюдать порядок следования цветов, так, как указано на рисунке. У некоторых датчиков может отсутствовать экранирующий провод (на рисунке желтый). Оставьте этот контакт свободным.
Подключение датчиков веса к удлинительному кабелю:
Правильно
Неправильно
Подключение датчиков расстояний
Общий разъем кабеля для датчиков расстояний имеет ключ, который защищает от неправильного подключения кабеля к плате. На другой стороне кабель разделен на три шлейфа для подключения ультразвуковых датчиков расстояний и один шлейф для подключения кнопки инициализации передачи данных в учетную систему.
Кабель следует подключать к датчику так, как указано на рисунке. Если разъем перевернуть, то произойдет переполюсовка питания и датчик выйдет из строя.
Кнопка инициализации подключается к двухпроводному шлейфу, идущему от разъема датчиков расстояний. Полярность подключения не имеет значения. В качестве кнопки может быть применен любой переключатель, клавиша, педаль и т.п. с нормально разомкнутыми контактами.
Теперь можно произвести проверку работоспособности сканера «на столе», без сборки стенда.
Необходимые для этого действия:
1. Проверить правильность соединений.
2. Расположить датчики расстояний на одном расстоянии от какого-либо предмета, например стены или пола.
3. Подать питание, подключив USB-шнур к компьютеру.
4. После загрузки (5-7 сек) на экране должно появиться приветствие:
5. Вслед за этим запустится режим автоматической калибровки датчиков размеров и тарировка:
6. По окончании калибровки появится информация о «базовых» расстояниях по осям и обнуленном весе:
Все датчики должны показать примерно одинаковое расстояние до предмета, перед которым они были размещены. Если какой-либо датчик не работает – проверьте правильность его подключения. «Базовые» расстоянияи после сборки и настройки измерителя должны быть равными расстояниям от датчика до начала координат по каждой оси.
7. Далее появится экран готовности
8. При необходимости можно настроить контрастность изображения. Знаки на экране должны быть необходимой яркости, при этом не должно быть светлых прямоугольников, их обрамляющих.
9. В случае необходимости (зависание, явно недостоверные показания и т.п.) сканер можно перезагрузить можно несколькими способами:
- отключить и снова включить через 2-5 сек шнур USB;
- нажать кнопку «Сброс», расположенную на нижней плате Arduino;
- с помощью дополнительной кнопки с нормально разомкнутыми контактами, подключенной к контактам платы с обозначением Reset (кнопка в комплект не входит).
4. Подготовка измерительной платформы
Вы сами выбираете, как вам организовать рабочее место и процесс измерений исходя из особенностей ваших технологий.
Мы предлагаем несколько рекомендаций, которые позволят проводить измерения достаточно точно.
1. Особенности установки ультразвуковых датчиков расстояния
Датчик размера состоит из двух ультразвуковых излучателей. Один из них посылает направленный импульс, который распространяется в пространстве со скоростью звука. Второй датчик улавливает эхо, отраженное от предметов, которые встретились на пути отправленного импульса. Промежуток времени от начала импульса до получения эха пропорционален расстоянию до предмета. Именно это время пересчитывается в размер.
Чтобы избежать ложных срабатываний, на пути следования импульса не должно быть отражающих сигнал предметов, даже самых незначительных. Гарантированный результат дает конструкция из трех листов твердого материала, соединенных указанным ниже способом.
Датчики необходимо закрепить и защитить таким образом, чтобы избежать повреждения в процессе работы.
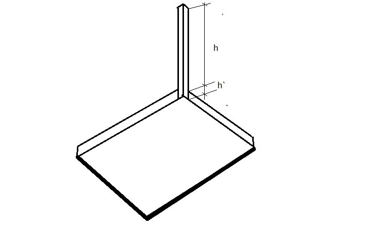
Допустимо, например, сделать платформу такой конфигурации:
В этом случае необходимо учесть следующее:
- автокалибровка в качестве базового расстояния будет использовать h
- с помощью ручной калибровки необходимо скорректировать базовое расстояние таким образом:
H = h + h’
- минимальная высота измеряемого короба должна быть больше чем h`
- вокруг платформы необходимо свободное пространство, чтобы не было ложных отражений сигнала от проводов и других элементов рабочего места
В комплект поставки входит набор пластиковых корпусов для датчиков расстояния в комплекте с крышками.
Сами датчики в корпусах должны быть размещены таким образом:

2. Особенности установки датчиков веса
Если измерительная платформа небольшого размера, например 400*600 мм и есть возможность изготовить жесткую платформу с такой же жесткой опорой – можно использовать схему с одним датчиком веса, размещенным посредине. В качестве образца можно использовать промышленные весы.
Пример установки тензодатчика:

Проставка под датчиком должна обеспечивать свободный изгиб датчика при максимальной нагрузке без упора в платформу
Также рекомендуется установить регулируемый упор для ограничения хода датчика. Это защитит его от поломки в случае перегрузки.
Регулируемая ножка должна иметь контргайку для надежной фиксации, в противном случае показания весов будут «плавать» в процессе измерений. После установки на основания поверхность платформы необходимо выставить по уровню горизонта
Платформа с 4-мя датчиками, размещенными по углам, проще в изготовлении и подойдет для большинства случаев.
Сама платформа должна быть установлена на жесткое основание, не подверженное деформациям. Нежелательно, например, устанавливать сканер на обыкновенный стол, так как даже небольшие деформации столешницы при нажатии на нее приводят к недостоверным измерениям.
Продолжение следует...














