Юрий Садиков
г. Москва
В статье приведены результаты работ по созданию устройства, представляющего собой комплект активных фильтров для построения высококачественных трехполосных усилителей низкой частоты классов HiFi и HiEnd.
В процессе предварительных исследований суммарной АЧХ трехполосного усилителя, построенного с использованием трех активных фильтров второго порядка, выяснилось, что эта характеристика при любых частотах стыков фильтров обладает весьма высокой неравномерностью. При этом она весьма критична к точности настройки фильтров. Даже при небольшом рассогласовании неравномерность суммарной АЧХ может составить 10…15 дБ!
МАСТЕР КИТ выпускает набор NM2116, из которого можно собрать комплект фильтров, построенный на базе двух фильтров и вычитающего сумматора, не имеющий вышеперечисленных недостатков. Разработанное устройство малочувствительно к параметрам частот среза отдельных фильтров и при этом обеспечивает высоколинейную суммарную АЧХ.
Основными элементами современной высококачественной звуковоспроизводящей аппаратуры являются акустические системы (АС).
Самыми простыми и дешевыми являются однополосные АС, имеющие в своем составе один громкоговоритель. Такие акустические системы не способны с высоким качеством работать в широком диапазоне частот в силу использования одного громкоговорителя (головка громкоговорителя - ГГ). При воспроизведении разных частот к ГГ предъявляются различные требования. На низких частотах (НЧ) динамик должен обладать большим и жестким диффузором, низкой резонансной частотой и иметь большой ход (для прокачки большого объема воздуха). А на высоких частотах (ВЧ) наоборот – необходим небольшой легкий но твердый диффузор с малым ходом. Все эти характеристики совместить в одном громкоговорителе практически невозможно (несмотря на многочисленные попытки), поэтому одиночный громкоговоритель имеет высокую частотную неравномерность. Кроме этого в широкополосных громкоговорителях существует эффект интермодуляции, который проявляется в модуляции высокочастотных компонент звукового сигнала низкочастотными. В результате звуковая картина нарушается. Традиционным решением этой проблемы является разделение воспроизводимого диапазона частот на поддиапазоны и построение акустических систем на базе нескольких динамиков на каждый выбранный частотный поддиапазон.
Пассивные и активные разделительные электрические фильтры
Для снижения уровня интермодуляционных искажений перед громкоговорителями устанавливаются электрические разделительные фильтры. Эти фильтры также выполняют функцию распределения энергии звукового сигнала между ГГ. Их рассчитывают на определенную частоту разделения, за пределами которой фильтр обеспечивает выбранную величину затухания, выражаемую в децибелах на октаву. Крутизна затухания разделительного фильтра зависит от схемы его построения. Фильтр первого порядка обеспечивазатухание 6 дБ/окт, второго порядка - 12 дБ/окт, а третьего порядка - 18 дБ/окт. Чаще всего в АС используются фильтры второго порядка. Фильтры более высоких порядков применяются в АС редко из-за сложной реализации точных значений элементов и отсутствия потребности иметь более высокие значения крутизны затухания.
Частота разделения фильтров зависит от параметров применяемых ГГ и от свойств слуха. Наилучший выбор частоты разделения — при котором каждый ГГ АС работает в пределах области поршневого действия диффузора. Однако при этом АС должна иметь много частот разделения (соответственно ГГ), что значительно увеличивает ее стоимость. Технически обосновано, что для качественного звуковоспроизведения достаточно применять трехполосное разделение частот. Однако на практике существуют 4-х, 5-и и даже 6-и полосные акустические системы. Первую (низкую) частоту разделения выбирают в диапазоне 200…400 Гц, а вторую (среднюю) частоту разделения в диапазоне 2500...4000 Гц.
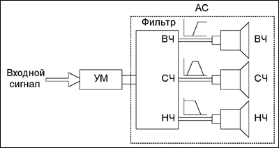
Традиционно фильтры изготавливаются с применением пассивных L, C, R элементов, и устанавливаются непосредственно на выходе оконечного усилителя мощности (УМ) в корпусе АС, согласно рис.1.
Рис.1. Традиционное исполнение АС.
Однако у подобного исполнения существует ряд недостатков. Во первых, для обеспечения необходимых частот среза приходится работать с достаточно большими индуктивностями, поскольку необходимо выполнить одновременно два условия – обеспечить необходимую частоту среза и обеспечить согласование фильтра с ГГ (иными словами нельзя уменьшить индуктивность за счет увеличения емкости, входящей в состав фильтра). Намотку катушек индуктивности желательно производить на каркасах без применения ферромагнетиков из-за существенной нелинейности их кривой намагниченности. Соответственно, воздушные катушки индуктивности получаются достаточно громоздкими. Кроме всего существует погрешность намотки, которая не позволяет обеспечить точно рассчитанную частоту среза.
Провод, которым ведется намотка катушек, обладает конечным омическим сопротивлением, что в свою очередь, приводит к уменьшению КПД системы в целом и преобразованием части полезной мощности УМ в тепло. Особенно заметно это проявляется в автомобильных усилителях, где питающее напряжение ограничено 12 В. Поэтому для построения автомобильных стереосистем часто применяют ГГ пониженного сопротивления обмотки (~2…4 Ом). В такой системе введение дополнительного сопротивления фильтра порядка 0,5 Ом может привести к уменьшению выходной мощности на 30%…40%.
При проектировании высококачественного усилителя мощности стараются свести к минимуму его выходное сопротивление для увеличения степени демпфирования ГГ. Применение пассивных фильтров заметно снижает степень демпфирования ГГ, поскольку последовательно с выходом усилителя подключается дополнительное реактивное сопротивление фильтра. Для слушателя это проявляется в появлении "бубнящих" басов.
Эффективным решением является использование не пассивных, а активных электронных фильтров, в которых все перечисленные недостатки отсутствуют. В отличие от пассивных фильтров, активные фильтры устанавливается до УМ как показано на рис.2.
Рис.2. Построение звуковоспроизводящего тракта с использованием активных фильтров.
Активные фильтры представляют собой RC фильтры на операционных усилителях (ОУ). Несложно построить активные фильтры звуковых частот любого порядка и с любой частотой среза. Расчет подобных фильтров производится по табличным коэффициентам с заранее выбранным типом фильтра, необходимым порядком и частотой среза.
Использование современных электронных компонентов позволяет изготавливать фильтры, обладающие минимальными значениями уровней собственных шумов, малым энергопотреблением, габаритами и простотой исполнения/повторения. В результате, использование активных фильтров приводит к увеличению степени демпфирования ГГ, снижает потери мощности, уменьшает искажения и увеличивает КПД звуковоспроизводящего тракта в целом.
К недостаткам такой архитектуры относится необходимость использования нескольких усилителей мощности и нескольких пар проводов для подключения акустических систем. Однако в настоящее время это не является критичным. Уровень современных технологий значительно снизил цену и размеры УМ. Кроме того, появилось достаточно много мощных усилителей в интегральном исполнении с отличными характеристиками, даже для профессионального применения. На сегодняшний день существует ряд ИМС с несколькими УМ в одном корпусе (фирма Panasonic выпускает ИМС RCN311W64A-P с 6-ю усилителями мощности специально для построения трехполосных стереосистем). Кроме того УМ можно расположить внутри АС и использовать короткие провода большого сечения для подключения динамиков, а входной сигнал подать по тонкому экранированному кабелю. Однако, если даже не удается установить УМ внутри АС, применение многожильных соединительных кабелей не представляет собой сложную проблему.
Моделирование и выбор оптимальной структуры активных фильтров
При построении блока активных фильтров было решено использовать структуру состоящую из фильтра высокой частоты (ФВЧ), фильтра средней частоты (полосовой фильтр, ФСЧ) и фильтра низкой частоты (ФНЧ).
Это схемотехническое решение было практически реализовано. Был построен блок активных фильтров НЧ, ВЧ и ПФ. В качестве модели трехполосной АС был выбран трехканальный сумматор, обеспечивающий суммирование частотных компонент, согласно рис.3.
Рис.3. Модель трехканальной АС с набором активных фильтров и ФСЧ на ПФ.
При снятии АЧХ такой системы, при оптимально подобранных частотах среза, ожидалось получить линейную зависимость. Но результаты оказались далеки от предполагаемых. В точках сопряжения характеристик фильтров наблюдались провалы/выбросы в зависимости от соотношения частот среза соседних фильтров. В итоге подбором значений частот среза не удалось привести проходную АЧХ системы к линейному виду. Нелинейность проходной характеристики свидетельствует о наличии частотных искажений в воспроизводимом музыкальном оформлении. Результаты эксперимента представлены на рис.4, рис.5 и рис.6. Рис.4 иллюстрирует сопряжение ФНЧ и ФВЧ по стандартному уровню 0.707. Как видно из рисунка в точке сопряжения результирующая АЧХ (показана красным цветом) имеет существенный провал. При раздвижении характеристик глубина и ширина провала увеличивается, соответственно. Рис.5 иллюстрирует сопряжение ФНЧ и ФВЧ по уровню 0.93 (сдвижка частотных характеристик фильтров). Эта зависимость иллюстрирует минимально достижимую неравномерность проходной АЧХ, путем подбора частот среза фильтров. Как видно из рисунка, зависимость явно не линейна. При этом частоты среза фильтров можно считать оптимальными для данной системы. При дальнейшем сдвиге частотных характеристик фильтров (сопряжение по уровню 0.97) наблюдается появление выброса в проходной АЧХ в точке стыка характеристик фильтров. Подобная ситуация показана на рис.6.
Рис.4. АЧХ ФНЧ (черный), АЧХ ФВЧ (черный) и проходная АЧХ (красный), согласование по уровню 0.707.
Рис.5. АЧХ ФНЧ (черный), АЧХ ФВЧ (черный) и проходная АЧХ (красный), согласование по уровню 0.93.
Рис.6. АЧХ ФНЧ (черный), АЧХ ФВЧ (черный) и проходная АЧХ (красный), согласование по уровню 0.97 и появление выброса.
Основной причиной нелинейности проходной АЧХ является наличие фазовых искажений на границах частот среза фильтров.
Решить подобную проблему позволяет построение среднечастотного фильтра не в виде полосового фильтра, а с использованием вычитающего сумматора на ОУ. Характеристика такого ФСЧ формируется в соответствии с формулой: Uсч = Uвх – Uнч - Uвч
Структура такой системы представлена на рис.7.
Рис.7. Модель трехканальной АС с набором активных фильтров и ФСЧ на вычитающем сумматоре.
При таком способе формирования канала средних частот пропадает необходимость в точной настройке соседних частот среза фильтров, т.к. среднечастотный сигнал формируется вычитанием из полного сигнала сигналов фильтров высоких и низких частот. Кроме обеспечения взаимодополняющих АЧХ, у фильтров получаются так же и комплементарные ФЧХ, что гарантирует отсутствие выбросов и провалов в суммарной АЧХ всей системы.
АЧХ среднечастотного звена с частотами среза Fср1 = 300 Гц и Fср2 = 3000 Гц приведена на рис. 8. По спаду АЧХ обеспечивается затухание не более 6 дБ/окт, что, как показывает практика, вполне достаточно для практической реализации ФСЧ и получения качественного звучания СЧ ГГ.
Рис.8. АЧХ фильтра средних частот.
Проходной коэффициент передачи такой системы с ФНЧ, ФВЧ и ФСЧ на вычитающем сумматоре получается линейным во всем диапазоне частот 20 Гц…20 кГц, согласно рис. 9. Полностью отсутствуют амплитудные и фазовые искажения, что обеспечивает кристальную чистоту воспроизводимого звукового сигнала.
Рис.9. АЧХ системы фильтров с ФСЧ на вычитающем сумматоре.
К недостаткам подобного решения можно отнести жесткие требования к точности номиналов резисторов R1, R2, R3 (согласно рис.10, на котором представлена электрическая схема вычитающего сумматора) обеспечивающих балансировку сумматора. Эти резисторы должны использоваться с допусками на точность не более 1%. Однако при возникновении проблем с приобретением таких резисторов потребуется сбалансировать сумматор используя вместо R1, R2 подстроечные резисторы.
Балансировка сумматора выполняется по следующей методике. Сначала на вход системы фильтров необходимо подать низкочастотное колебание с частотой, намного ниже частоты среза ФНЧ, например 100 Гц. Изменяя значение R1 необходимо установить минимальный уровень сигнала на выходе сумматора. Затем на вход системы фильтров подается колебание с частотой заведомо большей частоты среза ФВЧ, например 15 кГц. Изменяя значение R2 опять устанавливают минимальный уровень сигнала на выходе сумматора. Настройка закончена.
Рис.10. Схема вычитающего сумматора.
Методика расчета активных ФНЧ и ФВЧ
Радиолюбители сами могут рассчитать ФНЧ и ФВЧ на необходимую частоту среза, используя следующие выкладки.
Как показывает теория для фильтрации частот звукового диапазона необходимо применять фильтры Баттерворта не более второго или третьего порядка, обеспечивающие минимальную неравномерность в полосе пропускания.
Схема ФНЧ второго порядка представлена на рис. 11. Его расчет производится по формуле:
где a1=1.4142 и b1=1.0 - табличные коэффициенты, а С1 и С2 выбираются из соотношения C2/C1 больше равно 4xb1/a12, причем не следует выбирать отношение C2/C1 много большим правой части неравенства.
Рис.11. Схема ФНЧ Баттерворта 2-го порядка.
Схема ФВЧ второго порядка представлена на рис. 12. Его расчет производится по формулам:
где C=C1=C2 (задаются перед расчетом), а a1=1.4142 и b1=1.0 - те же табличные коэффициенты.
Рис.12. Схема ФВЧ Баттерворта 2-го порядка.
Специалисты МАСТЕР КИТ разработали и исследовали характеристики такого блока фильтров, обладающего максимальной функциональностью и минимальными габаритами, что является существенным при применении устройства в быту. Использование современной элементной базы позволило обеспечить максимальное качество разработке.
Технические характеристики блока фильтров
| Напряжение питания, В | 12…30 |
| Ток потребления, мА | 10 |
| НЧ фильтр Усиление в полосе пропускания, дБ Затухание вне полосы пропускания, дБ/окт Частота среза, Гц | 0 12 300 |
| ВЧ фильтр Усиление в полосе пропускания, дБ Затухание вне полосы пропускания, дБ/окт Частота среза, Гц | 0 12 3000 |
| СЧ фильтр (полосовой) Усиление в полосе пропускания, дБ Затухание вне полосы пропускания, дБ/окт Частоты среза, Гц | 0 6 300, 3000 |
| Размеры печатной платы, мм | 61x42 |
Принципиальная электрическая схема активного фильтра показана на рис.13. Перечень элементов фильтра приведен в таблице.
Фильтр выполнен на четырех операционных усилителях. ОУ объединены в одном корпусе ИМС MC3403 (DA2). На DA1 (LM78L09) собран стабилизатор питающего напряжения с соответствующими фильтрующими емкостями: С1, С3 по входу и С4 по выходу. На резистивном делителе R2, R3 и конденсаторе С5 выполнена искусственная средняя точка.
На ОУ DA2.1 выполнен буферный каскад сопряжения выходного и входных сопротивлений источника сигнала и фильтров НЧ, ВЧ и СЧ. На ОУ DA2.2 собран фильтр НЧ, на ОУ DA2.3 - фильтр ВЧ. ОУ DA2.4 выполняет функцию формирователя полосового СЧ фильтра.
На контакты X3 и X4 подается напряжение питания, на контакты X1, X2 - входной сигнал. С контактов X5, X9 снимается отфильтрованный выходной сигнал для тракта НЧ; с X6, X8 – ВЧ и с X7, X10 – СЧ трактов соответственно.
Рис.13. Схема электрическая принципиальная активного трехполосного фильтра

Перечень элементов активного трехполосного фильтра
| Позиция | Наименование | Примечание | Кол. |
| С1, С4 | 0,1 мкФ | Обозначение 104 | 2 |
| C2, С10, C11, C12, C13, C14, C15 | 0,47 мкФ | Обозначение 474 | 7 |
| С3, C5 | 220 мкФ/16 В | Замена 220 мкФ/25 В | 2 |
| С6, C8 | 1000 пФ | Обозначение 102 | 2 |
| С7 | 22 нФ | Обозначение 223 | 1 |
| С9 | 10 нФ | Обозначение 103 | 1 |
| DA1 | 78L09 | 1 | |
| DA1 | MC3403 | Замена LM324, LM2902 | 1 |
| R1…R3 | 10 кОм | 3 | |
| R8…R12 | 10 кОм | Допуск не более 1%* | 5 |
| R4…R6 | 39 кОм | 3 | |
| R7 | 75 кОм | - | 1 |
| Колодка DIP-14 | 1 | ||
| Штыревой разъем | 2-х контактный | 2 | |
| Штыревой разъем | 3-х контактный | 2 |
Внешний вид фильтра показан на рис.14, печатная плата – на рис.15, расположение элементов – на рис.16.
Конструктивно фильтр выполнен на печатной плате из фольгированного стеклотекстолита. Конструкция предусматривает установку платы в стандартный корпус BOX-Z24A, для этого предусмотрены монтажные отверстия по краям платы диаметром 4 и 8 мм. Плата в корпусе крепится двумя винтами-саморезами.
Рис.14. Внешний вид активного фильтра.
Рис.15. Печатная плата активного фильтра.
Рис.16. Расположение элементов на печатной плате активного фильтра.
Материал опубликован в журнале Радиосхема 2007`06.

















